近日,小霸王被申请破产重整上热搜,无数80后、90后梦碎,纷纷感慨“我的青春结束了”。
多年前,“小霸王”学习机经过成龙代言,曾一时名声大噪,火遍大江南北。“魂斗罗”“坦克大战”“热血篮球”这些游戏是那个年代无数孩子的游戏启蒙,可如今一切都回不去了。

据查询,此次宣布破产的小霸王文化发展有限公司前身名为中山市小霸王文化产业有限公司,成立于1987年,在2015年7月才正式更名。更名后的第五年,小霸王宣布破产!
那公司破产后还能保留住自己的商标吗,其实不太可能,一般申请破产的企业都是资不抵债,最常见的就是拍卖。除拍卖外,在公司注销前还有商标转让和商标转移两种形式让商标变现。
那么此次被申请破产的小霸王文化发展有限公司名下有哪些商标呢,答案是:一个也没有!
一个经营了33年的企业没有商标,难以置信?其实这都是因为企业更名后没有做变更导致的。
2016年中山市小霸王文化产业有限公司申请过7件商标,分别注册在第9类、28类和41类上,目前有4件商标已成功注册。

不过,这些商标里并没有“小霸王”商标,那谁才是真正的“小霸王”商标申请人呢?
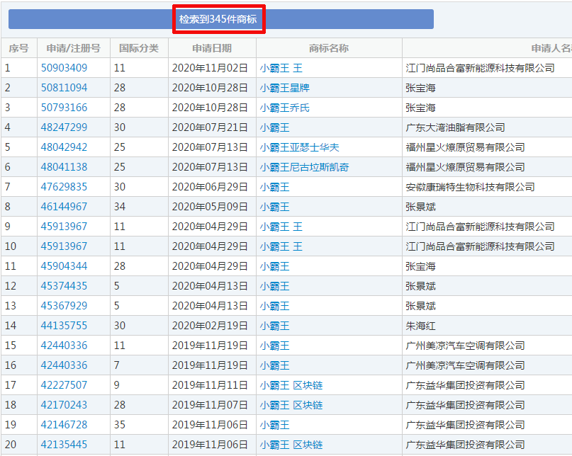
经过一番搜索发现中国商标网目前共有345件“小霸王”相关的商标申请,其中小霸王的主体公司中山市小霸王电子工业公司共提交8件“小霸王”有关商标。这8件商标因为没有如期做商标续展,已全部被注销,商标已无效。


注册商标并非永久有效,而是有有效期的。根据《商标法》相关规定,注册商标的有效期为十年,自核准注册之日起计算;注册商标有效期满,需要继续使用的,商标注册人应当在期满前十二个月内按照规定办理续展手续。
小霸王在商标期满之后,没有及时办理续展手续,最终相继被无效。
小霸王作为时代产物,品牌知名度和美誉度较高,其商标价值也不容小觑。即使小霸王破产重组了,但是商标所带来的无形价值并没有消亡,说不定可以卖出不错的价格。

商标拍卖出百万、千万的价格并不是个例,比如“快播”、“三鹿”、“乐视”等商标,都曾拍卖出令人咂舌的价格。因此,小编提醒大家,在企业经营过程中,不要忽视了商标管理,一定要记得及时办理商标续展,发挥出商标最大的价值。
注:来源金名标
