魔幻的2020不知不觉已经接近尾声,再过1个月就要步入2021年了,距离我们的春节也就70多天的时间啦。
一年一度的春节联欢晚会早就开始紧锣密鼓地筹备,相关商标也已提交申请。
值得一提的是,2019年春晚之前,央视曾一口气注册120个“春晚”商标,而近日央视又申请了一批“2021牛年春晚”商标。
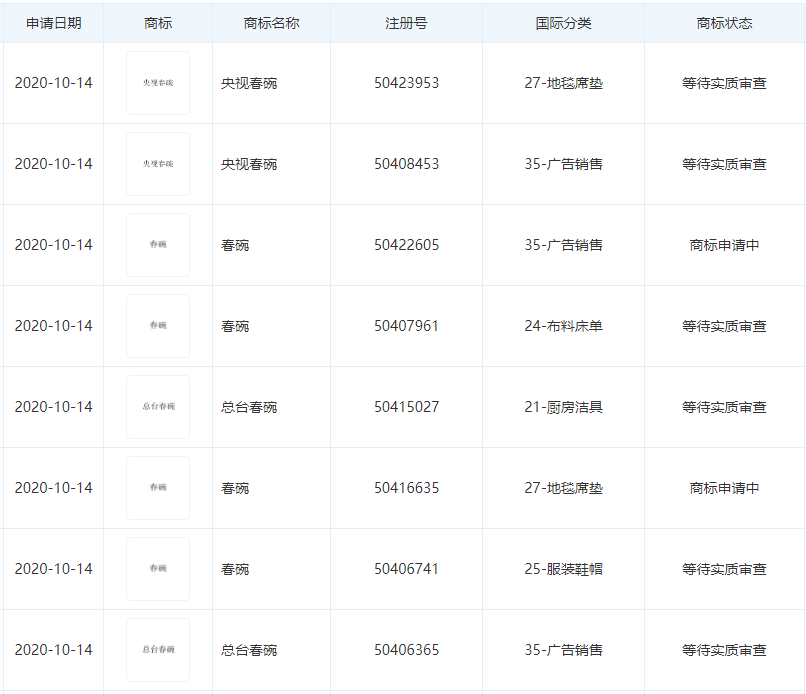
根据查询,由中国中央电视台全资持股的中视实业集团有限公司在10月-11月期间提交了多件“春晚”相关商标,包括“2021牛年春晚CCTV”、“牛年春晚;CCTV2021”、“中央广播电视总台出品”、“中央广播电视总台文创”,以及一些“错别字”商标“春碗”、“央视春碗”、“总台春碗”等。


商标申请类别包括第35类广告销售、第14类珠宝钟表、第21类地毯席垫、第24类布料床单、25类服装鞋帽等。
此外,牛年来临,央视还注册了多件“牛”相关的图形商标,有的牛头上还印有“福”字,福气满满,寓意新年好运来。想来应该是牛年春晚吉祥物,或者会用在春晚不同场景中。



春晚从1983年开办至今已有36个年头,“春晚”相关的商标也被抢注过不少。
根据商标网查询,“春晚”被申请注册了44次,最早是2005年2月17日由自然人孙孝良申请注册了30类和33类“春晚”商标,尔后又陆续有许多人提出申请注册,但几乎全被驳回,就连与春晚挂钩的“春晚小品”、“春晚招聘”、“春晚大餐”等也都无从幸免。
在2018年12月19日,官方终于行动了,中央电视台一口气申请注册了24件“春晚”商标、24件“CCTV春晚"商标、24件“央视春晚”商标、24件“中央电视台春节联欢晚会”商标、24件“春节联欢晚会”商标,总计120件商标。
至此,春晚终于有了自己的“名分”,不再担心被碰瓷。

事实上,中央电视台迄今为止申请注册了2142件商标,中央电视台的很多节目都被申请注册成为商标,例如“今日说法”、“我有传家宝”、“经典咏流传”等等。说起来中央电视台申请注册的商标并不算少,除却对节目的保护之外,也有不得已的原因,毕竟现在“搭便车”的注册者那么多,不仅在大企业泛滥,官方的也常被“碰瓷”。
央视都在进行商标保护和商标维权,何况企业,作为企业,缺乏注册商标的意识那是相当不妙。

作为春晚的开创者,央视早期没有申请“春晚”系列商标,后期大批量提交商标申请,实际上是一种补救。
生活中,买车不能不上车牌,买房不能不要房产证,生孩子不能没有户口,同理,要想证明你的就是你的,商标当然也要有商标注册证。
现在提前布局牛年春晚商标,市场未动,商标先行,正是说明了央视对知识产权的重视程度。
对于即将到来的2021年春晚,有消息透露,总台将开展8K/4K/VR直播。4K春晚电视信号将接入上海国际传媒港电影城进行影院直播;同时尝试8K频道直播试验,在上海和深圳户外巨型大屏播出;此外,2021春晚还将进行VR直播,全方位提升春晚的沉浸式直播效果,并将采用三维声制作及呈现。
今年过得好快,一起期待春晚的到来吧!
来源:细软知识产权综合32知协、IPRwork知识产权档案管家
