躺平一词爆火网络,竟然2018年就被阿里注册商标了
“躺平”可以说是近期的热词。前段时间,网上出现一篇名为《躺平即是正义》的文章,一时间火爆全网。“躺平就是我的智者运动,只有躺平,人才是万物的尺度。”的躺平理念引发无数“打工人”共鸣,该作者更是被戏称为“躺平学大师”。

在大家都在争议年轻人该不该躺平的时候,很多公司早就已经注册好了“躺平”商标。
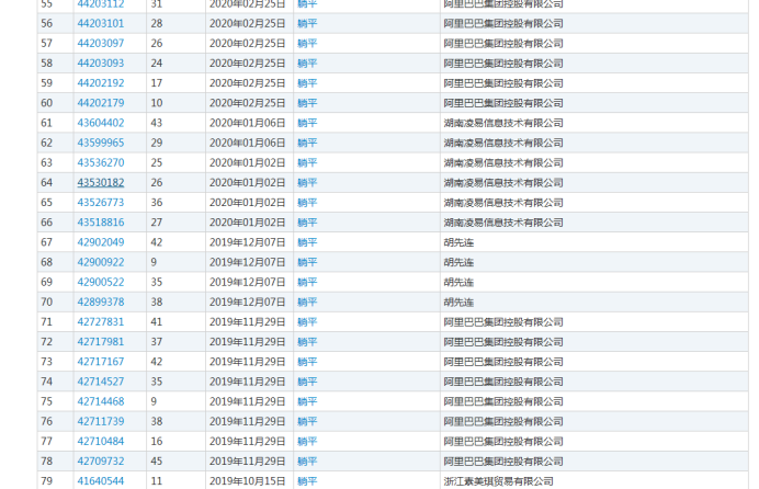
商标局官网显示,已注册的“躺平”商标有超过100个,涵盖服装鞋帽、广告销售、厨房洁具、餐饮住宿、橡胶制品等多个类别,其中注册最多的是阿里巴巴。数据显示,阿里从2018年就开始注册“躺平”相关商标,目前共申请注册躺平商标91次,其中56枚为已注册状态。



不查不知道,一查吓一跳。“躺平”竟然是阿里巴巴旗下生活方式APP,包含了居家好物分享社区/分享生活分享家/躺平App打造社区交流/好物推荐与居家指南;躺平的诞生背景是在阿里投资居然之家,也是布局家居行业后的产物; 现在阿里不仅仅是商标注册成功,APP客户端搭建完毕,全国招商也是如火如荼进行中。

这也给所有创业者提了个醒,在创业经营过程中一定要提前做好商标布局,我国商标注册采取的是申请在先的原则,谁先申请商标,谁就拥有在先权利,如果两枚商标近似,后申请的极容易被驳回;另外,如果不及时注册商标,商标还容易被人恶意抢注,如果想拿回商标权,过程非常波折,既浪费精力又费钱,还会影响企业正常经营。
商标对于企业的重要性不言而喻,如果没有自己的商标,企业便无法获得长久的发展。企业商标的注册不仅是简单随意的登记,应是在对市场做了充分调研的前提下,在制定企业品牌化战略、商标战略的前提下注册。这是商标保护的前提,也是商标保护的重要环节之一。
来源:商标圈
上一篇:展贵州风采,贵州组团参加第十七届中国国际中小企业博览会
下一篇:一组数据带你看深化税务“放管服”改革亮点