1月14日消息,天眼查信息显示,近日,小红书科技有限公司申请注册的“老红书”商标成功注册,商标国际分类涉通讯服务,注册公告日期为2022年1月7日。#小红书申请老红书商标获批冲上微博热搜第一,热度值超124万。
对此,有网友神回复称,“等我们老了,看着小红书、用着老米手机、喊着老爱同学,开着老鹏汽车,骑着老牛电动车,最浪漫的事就是和你们一起慢慢变老。”
但是,小红书公司申请的科学仪器老红书商标被驳回,该商标申请于2021年6月8日,目前状态为“驳回复审中”。
对于此事,小红书11月10日在官方微信公众号回应称,目前处于正常流程,正在发起复审。
小红书表示,申请“老红书”的起因是,法务部在日常商标监测过程中发现有第三方试图抢注多个模仿“小红书”的“老红书”商标。“老红书”商标于2021年6月8日提出申请,而在此之前已有人于2021年6月7日提交了一件“红书”商标。
对此,小红书一面对抢注商标提出异议申请,另一面补充了公司自己的“老红书”商标申请,以免后续再被抢注。
天眼查信息显示,小红书科技有限公司成立于2018年10月,法定代表人为曾秀莲,注册资本5000万美元,经营范围包括玩具、化妆品、工艺美术品(文物、象牙及其制品除外)、文化用品、体育用品、办公用品、摄影器材、电子商品的销售、网上零售等。
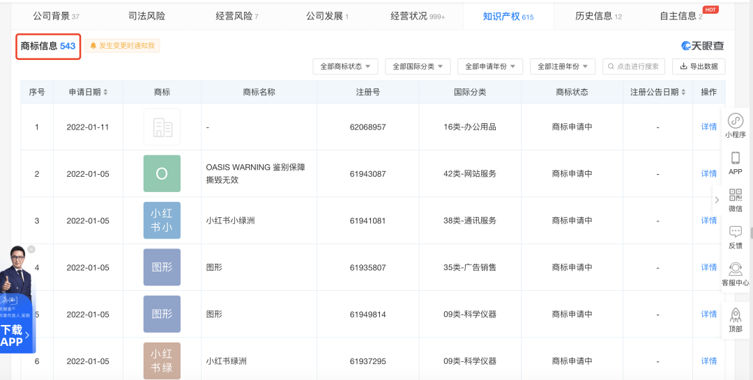
据天眼查信息显示,截至目前,小红书共计申请商标543件。“小红薯”、“小红屋”、“小红书绿洲”......应有尽有。
比如,在“六个核桃”之外,“七个核桃”“八个核桃”“六亿核桃”“六棵核桃”“大个核桃”各种“山寨货”横行,但是,从商标法的角度来说,“六个核桃”维权还真的挺困难,因为这些“N个核桃”可能都早就已经注册了。
所以,也不用对小红书注册“老红书”感到大惊小怪,相反,还是小红书“下手晚了”!
来源:商标知识局
